サインイン
Language
日本語 English

このセクションの記事

  • soarize/ソアスクに標準で含まれている各レポートの説明
  • 純増MRRに関するレポート・ダッシュボードの作成方法
  • 獲得MRRに関するレポート・ダッシュボードの作成方法
  • チャーンMRRに関するレポート・ダッシュボードの作成方法

純増MRRに関するレポート・ダッシュボードの作成方法

Avatar
OPRO Support staff
  • 2024年08月23日 15:42
  • 更新

本記事では、ソアスクv3.1より追加された分析オブジェクトのレコードを利用して組織の

  • 平均純増MRR
  • MRR平均成長率

の月ごとの推移をダッシュボードでグラフ表示するための手順をご紹介します。

※v3.1以降のソアスクでのみ、本記事で紹介するレポート・ダッシュボードは作成可能です。

 

分析・分析明細オブジェクトの各項目についての説明や、どのデータを基に分析・分析明細レコードが作成されるかについては、以下の記事で説明しておりますので、本記事では割愛します。
本記事と併せてご参照ください。

v3.1から追加されたサブスクリプション分析機能の使用方法

 

レポート・ダッシュボードはSalesforceの標準機能です。
詳しくは、以下の公式ヘルプページをご参照ください。

レポートとダッシュボード

 

用語説明

  • MRR
    Monthly Recurring Revenueの略称で、月ごとに繰り返し得られる収益を表します。
    新規獲得やアップセル(上位サービスへの変更など)で増加し、解約やダウンセル(下位サービスへの変更など)で減少します。
  • 純増MRR
    新規獲得/アップセルでの増加と解約/ダウンセルでの減少を全て加味した、前月のMRRと今月のMRRの金額差分です。
  • 平均純増MRR
    直近1年間の純増MRRの合計÷12 で算出されます。
    2020年12月の場合は「2020年1月~12月の純増MRRの合計÷12」です。
  • MRR平均成長率
    直近1年間の各月の成長率の合計÷12 で算出されます。
    ※各月の成長率は「当月の純増MRR÷前月末時点でのMRR」で算出されます。

 

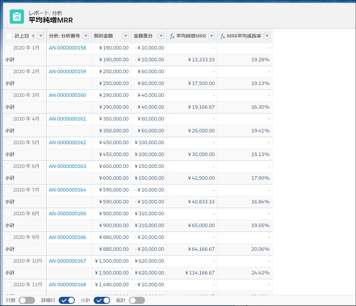
作成するレポート・ダッシュボードの概要

レポート

分析レコードを月ごとに集計し、月の契約金額合計、前月との差分金額、過去12か月の平均純増MRR、過去12か月のMRR平均成長率を表示するレポートを作成します。

report_appearance.PNG

レポートで使用する集計関数の使い方について以下記事で紹介していますので、興味のある方・理解を深めたい方は是非ご参照ください。

サブスクリプション分析のレポートで使用するPREVGROUPVAL関数の説明

 

ダッシュボード

作成するレポートを基に、2つのコンポーネントを作成します。

  1. 平均純増MRRの月推移を表示するコンポーネント
    dashboard_component_1.PNG
  2. MRR平均成長率の月推移を表示するコンポーネント
    dashboard_component_2.PNG

 

レポート作成手順

  1. 「レポート」タブを開いて、右上の「新規レポート」をクリックします。
    report_step1.png
  2. レポートタイプに「分析」を選択し、「続行」をクリックします。
    report_step2.png
  3. 以下項目を列に追加します。
    • 分析: 分析番号
    • 契約金額
    • 金額差分
  4. 「計上日」項目でグルーピングします。
    report_step3_4.png
  5. プレビューを更新し、計上日の列の「▼」をクリックします。
    集計期間単位に「年月」を指定します。
    select_yearmonth_as_groupingunit.png
  6. 検索条件には
    • 種別 = 月次
    • 見込み / 実績 = 実績
    を指定します。
    report_search_condition.png
  7. 「平均純増MRR」「MRR平均成長率」の2つの集計項目を作成します。

    ※集計項目の作成方法の詳細については以下ヘルプページをご参照ください。
     集計項目を使用したグループと合計の評価
    ※集計項目の数式では、直近12ヶ月の各月毎に契約金額・金額差分の合計値を算出するため、レポート関数「PREVGROUPVAL」を使用します。
     PREVGROUPVALの挙動については以下ヘルプページをご参照ください。
     PARENTGROUPVAL および PREVGROUPVAL

    create_formula_button.png

    平均純増MRR
    • 以下のように設定します。
      report_step5_mrr_ave_general.pngreport_step5_mrr_ave_display.png
    • 入力する数式は以下です。
      この数式で「直近1年間の純増MRRの合計÷12」を算出します。
    • (
          PREVGROUPVAL(
              appsfs__Analysis__c.appsfs__fs_AmountDifference__c:SUM, 
              appsfs__Analysis__c.appsfs__fs_RecordDate__c,
              0
          )
          +
          PREVGROUPVAL(
              appsfs__Analysis__c.appsfs__fs_AmountDifference__c:SUM, 
              appsfs__Analysis__c.appsfs__fs_RecordDate__c,
              1
          )
          +
          PREVGROUPVAL(
              appsfs__Analysis__c.appsfs__fs_AmountDifference__c:SUM, 
              appsfs__Analysis__c.appsfs__fs_RecordDate__c,
              2
          )
          +
          PREVGROUPVAL(
              appsfs__Analysis__c.appsfs__fs_AmountDifference__c:SUM, 
              appsfs__Analysis__c.appsfs__fs_RecordDate__c,
              3
          )
          +
          PREVGROUPVAL(
              appsfs__Analysis__c.appsfs__fs_AmountDifference__c:SUM, 
              appsfs__Analysis__c.appsfs__fs_RecordDate__c,
              4
          )
          +
          PREVGROUPVAL(
              appsfs__Analysis__c.appsfs__fs_AmountDifference__c:SUM, 
              appsfs__Analysis__c.appsfs__fs_RecordDate__c,
              5
          )
          +
          PREVGROUPVAL(
              appsfs__Analysis__c.appsfs__fs_AmountDifference__c:SUM, 
              appsfs__Analysis__c.appsfs__fs_RecordDate__c,
              6
          )
          +
          PREVGROUPVAL(
              appsfs__Analysis__c.appsfs__fs_AmountDifference__c:SUM, 
              appsfs__Analysis__c.appsfs__fs_RecordDate__c,
              7
          )
          +
          PREVGROUPVAL(
              appsfs__Analysis__c.appsfs__fs_AmountDifference__c:SUM, 
              appsfs__Analysis__c.appsfs__fs_RecordDate__c,
              8
          )
          +
          PREVGROUPVAL(
              appsfs__Analysis__c.appsfs__fs_AmountDifference__c:SUM, 
              appsfs__Analysis__c.appsfs__fs_RecordDate__c,
              9
          )
          +
          PREVGROUPVAL(
              appsfs__Analysis__c.appsfs__fs_AmountDifference__c:SUM, 
              appsfs__Analysis__c.appsfs__fs_RecordDate__c,
              10
          )
          +
          PREVGROUPVAL(
              appsfs__Analysis__c.appsfs__fs_AmountDifference__c:SUM, 
              appsfs__Analysis__c.appsfs__fs_RecordDate__c,
              11
          )
      ) / 12

    平均成長率
    • 以下のように設定します。
      report_step5_mrr_growth_ave_general.pngreport_step5_mrr_growth_ave_display.png
    • 入力する数式は以下です。
      この数式で「直近1年間の各月の成長率の合計÷12」を算出します。
      ※各月の成長率 = 当月の純増MRR÷前月末時点でのMRR
    • (
          PREVGROUPVAL(
              appsfs__Analysis__c.appsfs__fs_AmountDifference__c:SUM, 
              appsfs__Analysis__c.appsfs__fs_RecordDate__c, 
              0
          )
          /
          PREVGROUPVAL(
              appsfs__Analysis__c.appsfs__fs_ContractAmount__c:SUM, 
              appsfs__Analysis__c.appsfs__fs_RecordDate__c, 
              1
          )
          +
          PREVGROUPVAL(
              appsfs__Analysis__c.appsfs__fs_AmountDifference__c:SUM, 
              appsfs__Analysis__c.appsfs__fs_RecordDate__c, 
              1
          )
          /
          PREVGROUPVAL(
              appsfs__Analysis__c.appsfs__fs_ContractAmount__c:SUM, 
              appsfs__Analysis__c.appsfs__fs_RecordDate__c, 
              2
          )
          +
          PREVGROUPVAL(
              appsfs__Analysis__c.appsfs__fs_AmountDifference__c:SUM, 
              appsfs__Analysis__c.appsfs__fs_RecordDate__c, 
              2
          )
          /
          PREVGROUPVAL(
              appsfs__Analysis__c.appsfs__fs_ContractAmount__c:SUM, 
              appsfs__Analysis__c.appsfs__fs_RecordDate__c, 
              3
          )
          +
          PREVGROUPVAL(
              appsfs__Analysis__c.appsfs__fs_AmountDifference__c:SUM, 
              appsfs__Analysis__c.appsfs__fs_RecordDate__c, 
              3
          )
          /
          PREVGROUPVAL(
              appsfs__Analysis__c.appsfs__fs_ContractAmount__c:SUM, 
              appsfs__Analysis__c.appsfs__fs_RecordDate__c, 
              4
          )
          +
          PREVGROUPVAL(
              appsfs__Analysis__c.appsfs__fs_AmountDifference__c:SUM, 
              appsfs__Analysis__c.appsfs__fs_RecordDate__c, 
              4
          )
          /
          PREVGROUPVAL(
              appsfs__Analysis__c.appsfs__fs_ContractAmount__c:SUM, 
              appsfs__Analysis__c.appsfs__fs_RecordDate__c, 
              5
          )
          +
          PREVGROUPVAL(
              appsfs__Analysis__c.appsfs__fs_AmountDifference__c:SUM, 
              appsfs__Analysis__c.appsfs__fs_RecordDate__c, 
              5
          )
          /
          PREVGROUPVAL(
              appsfs__Analysis__c.appsfs__fs_ContractAmount__c:SUM, 
              appsfs__Analysis__c.appsfs__fs_RecordDate__c, 
              6
          )
          +
          PREVGROUPVAL(
              appsfs__Analysis__c.appsfs__fs_AmountDifference__c:SUM, 
              appsfs__Analysis__c.appsfs__fs_RecordDate__c, 
              6
          )
          /
          PREVGROUPVAL(
              appsfs__Analysis__c.appsfs__fs_ContractAmount__c:SUM, 
              appsfs__Analysis__c.appsfs__fs_RecordDate__c, 
              7
          )
          +
          PREVGROUPVAL(
              appsfs__Analysis__c.appsfs__fs_AmountDifference__c:SUM, 
              appsfs__Analysis__c.appsfs__fs_RecordDate__c, 
              7
          )
          /
          PREVGROUPVAL(
              appsfs__Analysis__c.appsfs__fs_ContractAmount__c:SUM, 
              appsfs__Analysis__c.appsfs__fs_RecordDate__c, 
              8
          )
          +
          PREVGROUPVAL(
              appsfs__Analysis__c.appsfs__fs_AmountDifference__c:SUM, 
              appsfs__Analysis__c.appsfs__fs_RecordDate__c, 
              8
          )
          /
          PREVGROUPVAL(
              appsfs__Analysis__c.appsfs__fs_ContractAmount__c:SUM, 
              appsfs__Analysis__c.appsfs__fs_RecordDate__c, 
              9
          )
          +
          PREVGROUPVAL(
              appsfs__Analysis__c.appsfs__fs_AmountDifference__c:SUM, 
              appsfs__Analysis__c.appsfs__fs_RecordDate__c, 
              9
          )
          /
          PREVGROUPVAL(
              appsfs__Analysis__c.appsfs__fs_ContractAmount__c:SUM, 
              appsfs__Analysis__c.appsfs__fs_RecordDate__c, 
              10
          )
          +
          PREVGROUPVAL(
              appsfs__Analysis__c.appsfs__fs_AmountDifference__c:SUM, 
              appsfs__Analysis__c.appsfs__fs_RecordDate__c, 
              10
          )
          /
          PREVGROUPVAL(
              appsfs__Analysis__c.appsfs__fs_ContractAmount__c:SUM, 
              appsfs__Analysis__c.appsfs__fs_RecordDate__c, 
              11
          )
          +
          PREVGROUPVAL(
              appsfs__Analysis__c.appsfs__fs_AmountDifference__c:SUM, 
              appsfs__Analysis__c.appsfs__fs_RecordDate__c, 
              11
          )
          /
          PREVGROUPVAL(
              appsfs__Analysis__c.appsfs__fs_ContractAmount__c:SUM, 
              appsfs__Analysis__c.appsfs__fs_RecordDate__c, 
              12
          )
      ) / 12
  8. 右上の「保存&実行」をクリックします。
    report_step6.png
  9. レポート名、レポートの一意の名前を入力します。
    レポートの説明入力とフォルダの指定はお好みで行い、「保存」をクリックします。
    report_step7.png

 

ダッシュボード作成手順

  1. 「ダッシュボード」タブを開いて、右上の「新規ダッシュボード」ボタンをクリックします。
    new_dashboard.png
  2. ダッシュボード名を入力して、「作成」をクリックします。
    create_dashboard.png

 

平均純増MRRの推移を表示するコンポーネントを設置

  1. 「+コンポーネント」をクリックします。
    new_component.PNG
  2. 使用するレポートを選択します。
    select_report.png
  3. 表示グラフに「縦棒グラフ」を指定します。
    dashboard_mrr_ave_step3.PNG
  4. X軸は「計上日」Y軸は「平均純増MRR」を選択します。
    dashboard_mrr_ave_step4.PNG
  5. 並び替えは「計上日」の昇順とします。
    dashboard_mrr_ave_step5.PNG
  6. 他の値はお好みで設定し、「追加」をクリックします。
    dashboard_mrr_ave_step6.PNG

MRR平均成長率の推移を表示するコンポーネントを設置

  1. 「+コンポーネント」をクリックします。
    new_component.PNG
  2. 使用するレポートを選択します。
    select_report.png
  3. 表示グラフに「折れ線グラフ」を指定します。
    dashboard_mrr_growth_ave_step3.PNG
  4. X軸は「計上日」Y軸は「MRR平均成長率」を選択します。
    ※「値を表示」のチェックは外しています。
    dashboard_mrr_growth_ave_step4.PNG
  5. 並び替えは「計上日」の昇順とします。
    dashboard_mrr_growth_ave_step5.PNG
  6. 他の値はお好みで設定し、「追加」をクリックします。
    dashboard_mrr_growth_ave_step6.PNG

最後に、各コンポーネントのサイズを調節して、右上の「保存」をクリックします。
※このとき表示される内容は実際のデータとはずれることがあります。

save_dashboard.png

 

完成したダッシュボードの見た目は、以下のようになります。

dashboard_appearance.PNG

 

おわりに

ソアスクv3の分析・分析明細レコードは、レポートやダッシュボードで見やすくまとめることでその真価を発揮します。

お好みの分析データ表示設定を行う際に、本記事が参考になれば幸いです。

 

ページの先頭へ戻る

関連記事

  • OPROARTSの動作要件について(oproarts/Salesforce)
  • soarize/ソアスクに標準で含まれている各レポートの説明
  • サブスクリプション分析機能
  • [ソアスク / soarize]ドキュメント一覧
  • 獲得MRRに関するレポート・ダッシュボードの作成方法
株式会社オプロ